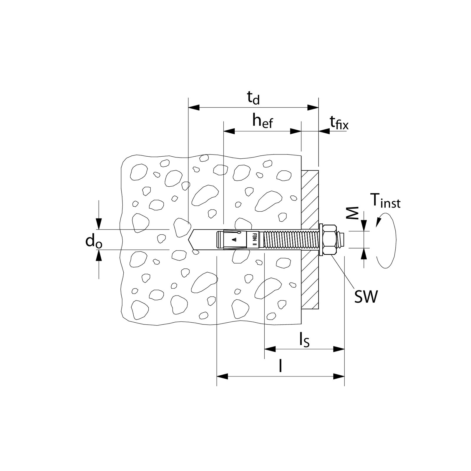
galvanisch verzinkt, Stahl, langes Gewinde, deshalb auch für Abstandsmontage geeignet
geeignet für: Beton, Naturstein dichtes Gefüge
FISCHER Bolzenanker FBN II Stahl verzinkt
CHF 0.80
FBN II 8/5 K (40806)
Vorrätig
Artikelnummer: 4006209408063
Kategorien: Bolzenanker - Dübel - Einschlaganker - Mörtel, Bolzenanker FBN II Stahl verzinkt, Bolzenanker von Fischer
| Gewicht | 0.02 kg |
|---|---|
| Artikelnummer |














